氟化镁洛匈棱镜起偏器
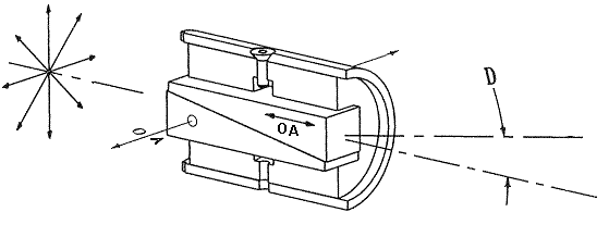
氟化镁洛匈棱镜起偏器由两块单晶氟化镁晶体光学接触组成。光垂直于入射面入射,并垂直于光轴通过第一块晶体。如下左图所示;光束分离角与波长关系见下右图。这种起偏器可应用光谱范围140-6000nm,且消光比大于1000:1
我们也提供光圈直径12mm空气间隙洛匈棱镜,封装于黑色阳极铝盒中,分离角度由0.67度@140nm到0.36度@6000nm,详细信息请联系我们!
分离角度 vs 波长
产品参数:
表面平整度
: 优于1/4波长 @ 633 nm @光圈
表面质量
: 40-20条纹-麻点
透射率(未镀膜)
: >80% @ 220 nm, 85% @300-5500 nm, 未镀膜,菲涅尔反射每个表面2.6%@633nm
氟化镁是一种性能优异的单轴晶体,光谱范围覆盖150-6500nm;由于其相对较低的双折射效应,不适应与制作氟化镁格兰起偏器,Karl Lambrecht的制造的氟化镁洛匈棱镜1969年就在芝加哥大学首测!
产品型号
净光圈mm
分离角度
封装尺寸 ( Inches)
外径+/- .0015
长+/- .007
MFRV5
5
5.4 @ 140 nm
5.1 @ 200 nm
4.6 @ 546 nm
.498
1.375
MFRV9
9
1.497
2.250